Schwarzer Einsatz vorne unten gesucht

Echte Panne mit dem Ampera oder dem Volt? Was waren die Fehlerquellen und wie wurde es repariert?
Antworten
Benutzeravatar
Markus Dippold
1.21 Gigawatt
Beiträge: 4592
Registriert: 11. Okt 2012 11:46
Kontaktdaten:

Schwarzer Einsatz vorne unten gesucht

Beitrag von Markus Dippold »

Nachdem die Gummilippe vorne schon recht mitgenommen war, ich dann auch mal etwas zu weit nach vorne über einen hohen Bordstein in den Parkplatz gefahren bin, dachte ich mir, daß ich die Lippe gegen die neue, die ich schon einige Zeit habe, austauschen könnte.

Tja, geht nicht.
Am hohen Bordstein habe ich noch die "Halteleiste" für die Gummilippe beschädigt (ist über die halbe Breite abgeknickt). Dazu noch das Problem, als eine meiner Töchter mal etwas unsanft in die Garage gefahren ist. Das linke "Horn" wurde etwas eingedrückt, das komplette Teil hat es etwas auf der linken Seite nach unten gedrückt.
Aktuell fahre ich ohne Frontlippe.

Jedenfalls:
Wie nennt man diesen unteren schwarzen Kunststoffeinsatz, der in der Stoßstange drin ist? Hat jemand eine Bestellnummer für mich?
Und kann man den tauschen, ohne die Stoßstange zu demontieren?

Danke und Gruß
Markus
Bild- Opel Ampera ePionier, lithiumweiß, Modelljahr 2012
Besitz und Datenerfassung seit 13.12.2012
Kilometerstand: 219997km
179991km elektrisch, 16.15kWh/100km ab Akku
33447km RE-Betrieb, 6.03l/100km
LDV 1.1l, persönlicher LDV 0.96l

Anzahl Akkuvollzyklen: 1816
aktuelle Sommer-Alltagsreichweite: 70km

Stand 31.08.2025

Meine Solaranlage
Benutzeravatar
Andreas Ranftl
1.21 Gigawatt
Beiträge: 1188
Registriert: 21. Nov 2016 22:59
Wohnort: 83377 Vachendorf
Kontaktdaten:

Re: Schwarzer Einsatz vorne unten gesucht

Beitrag von Andreas Ranftl »

IMG_20231031_121516.jpg
IMG_20231031_121516.jpg (201.88 KiB) 4851 mal betrachtet
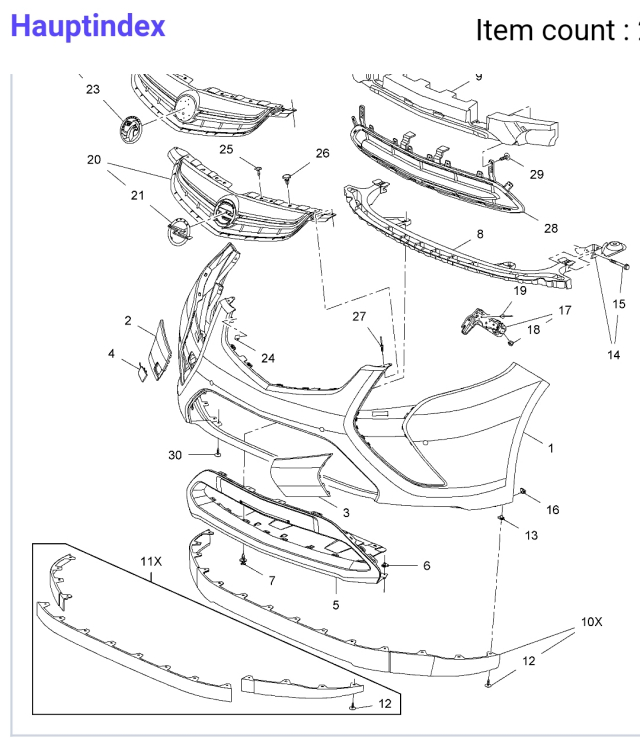
Teil8 wäre 25975554 AUFPRALLDAEMPFER,UNTEN

Abbauen ist das einfachste, schnellste falls alle Schrauben aufgehen ;)
Was hat noch Räder bei mir? Sommerfahrzeug Opel Senator B 24V Automatik 1990,C30SE-Opel Mokka A 1,4 LE2 Allrad Autom.,Anhänger Monty B11,800kg,1998
Benutzeravatar
Markus Dippold
1.21 Gigawatt
Beiträge: 4592
Registriert: 11. Okt 2012 11:46
Kontaktdaten:

Re: Schwarzer Einsatz vorne unten gesucht

Beitrag von Markus Dippold »

Hmmmm... ok.
Das sind offenbar 2 Teile.

Dort, wo die Nr. 5 hinzeigt, ist das eingedrückte "Horn".
Wäre das die Nr. 28?

Nr. 8 würde auf jeden Fall benötigt.
Fragt sich, ob man die hinbekommt, wenn Nr. 28 auf der Seite nach unten verformt ist.
Was ist davon die Bestellnummer?

Nachdem für die Nr. 8 schon knapp 280 Euro aufgerufen werden, ist das andere Teil eher noch teurer, weil größer und mehr Material.
Oder ist das doch die Nr. 5? Teilenummer 25975487 .
Bild- Opel Ampera ePionier, lithiumweiß, Modelljahr 2012
Besitz und Datenerfassung seit 13.12.2012
Kilometerstand: 219997km
179991km elektrisch, 16.15kWh/100km ab Akku
33447km RE-Betrieb, 6.03l/100km
LDV 1.1l, persönlicher LDV 0.96l

Anzahl Akkuvollzyklen: 1816
aktuelle Sommer-Alltagsreichweite: 70km

Stand 31.08.2025

Meine Solaranlage
Benutzeravatar
Andreas Ranftl
1.21 Gigawatt
Beiträge: 1188
Registriert: 21. Nov 2016 22:59
Wohnort: 83377 Vachendorf
Kontaktdaten:

Re: Schwarzer Einsatz vorne unten gesucht

Beitrag von Andreas Ranftl »

Das wäre Kühlergitter unten 25975547 die 28
Nr.5 hat sich ersetzt auf 22907725 /1401133
Was hat noch Räder bei mir? Sommerfahrzeug Opel Senator B 24V Automatik 1990,C30SE-Opel Mokka A 1,4 LE2 Allrad Autom.,Anhänger Monty B11,800kg,1998
Paga0815
16 kWh - fährt
Beiträge: 28
Registriert: 22. Feb 2020 21:07
Kontaktdaten:

Re: Schwarzer Einsatz vorne unten gesucht

Beitrag von Paga0815 »

Hab das Teil nr. 5 in neu Oirignal verpackt zu verkaufen
Antworten

Wer ist online?

Mitglieder in diesem Forum: 0 Mitglieder und 3 Gäste